跳转至

对于点亮OLED屏的一些思考

本篇文章主要记录在入门STM32过程中点亮OLED屏的一些思考。

0.96英寸OLED的相关细节

  • 像素点阵规模:128x64(128列输出(SEG),64行输出(COM),共8192颗LED)
  • 驱动IC:SSD1306
  • OLED驱动方式:无源矩阵驱动(Passive Matrix, PM),共阴极

SSD1306驱动IC的相关细节

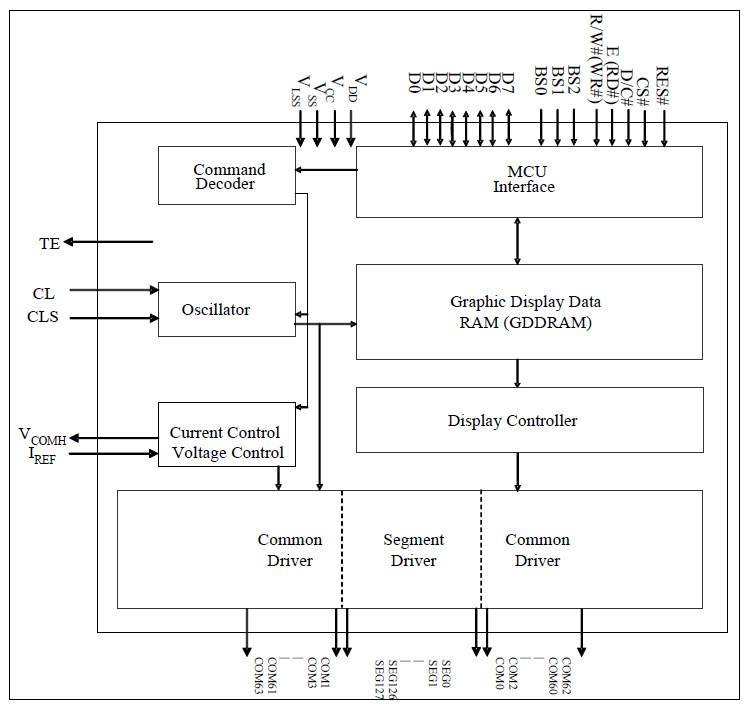
下图为SSD1306的内部结构图。观察该图可以发现,在SSD1306中存在着一个128x64bit大小的GDDRAM(Graphic Display Data RAM)。本质上,其就是一个SRAM。该SRAM中的每一个bit对应一颗像素点。如果显存中的某个bit为1,则它对应的那颗像素OLED被点亮,否则是熄灭的。

GDDRAM被划分为了8个Page(PAGE0-PAGE7),一个PAGE中含有128个SEG。一个SEG中存放一字节的数据。低位在上部,而高位在底部。此外,通过改变寄存器配置可改变GDDRAM的行/列地址与OLED面板实际物理像素行/列的对应关系。如下图所示。

I2C介绍

概述

I2C(Inter-Integrated Circuit)利用两根线来进行串口通信。这两根线分别为串口数据线(SDA, serial data line)和串口时钟线(SCL, serial clock line)。I2C支持多个设备挂靠在传输总线上,并且支持多个控制器接受或发送数据。传输数据时通过设备地址来分辨究竟是哪一个设备参与I2C。

传输模式

I2C有多种传输速度模式,按照出现的先后顺序可分为如下的5种模式:

  • Standard-mode: 100kbps(kbps即kilobits per second)
  • Fast-mode: 400kbps
  • Fast-mode Plus: 1Mbps
  • High-speed mode: 3.4Mbps
  • Ultra-Fast mode: 5Mbps

硬件结构

上图为一个典型的I2C通信的实施方法。SCL用于传输串口通信的时钟信号,而SDA用于传输串口通信的数据信号。在一个时刻,只有总线上的一个设备或控制器传输数据。I2C总线上所有设备的SDA和SCL引脚输出驱动都为开漏(Open-Drain)结构,通过外接上拉电阻实现总线上所有节点的SDA和SCL信号的线与逻辑关系,如下图所示。

当NMOS开启时,SDA与SCL直接与GND相连,输出低电平。当NMOS关闭时,SDA与SCL被拉高至高电平。上拉电阻的存在使得SDA与SCL要么是高电平,要么是低电平。

下图显示了在I2C中使用开漏输出模式(Open-Drain Output)与推挽输出模式(Push-Pull Output)的对比图。

对于推挽输出模式,若在总线上活动的两个设备一个输出高电平,而另一个输出低电平,则会导致VDD与GND之间直接被短路。

通讯内容

I2C通信开始的信号是首先拉低SDA,然后再拉低SCL。而通信结束的信号是首先拉高SCL,然后再拉高SDA。如下图所示。

对于I2C通信的整个过程可使用如下的示意图简要的进行概括。首先拉低SDA,然后再拉低SCL。这是I2C通信开始的标志。随后,通过SDA传输7位从机的地址。需要注意的是SCL为高电平时,SDA上的数据必须保持稳定,以便接收方能够准确进行采样。SCL为低电平时,SDA线上的数据才允许发生变化,为下一个比特的传输做好准备。紧随者7位地址位的是读写位。该位表示读写的方向。该位为0时,表示写入从机。该位为1时,表示读取从机。在读写位后是应答位(ACK),用以确认接受是否成功。当完成上述的操作后,开始传输数据。每一个数据帧为8位,同样在每个字节后都紧跟一个应答位(ACK)。数据传输时,高位在前。当完成数据传输后,首先拉高SCL,然后再拉高SDA,I2C通信结束。

利用OLED屏进行显示细节

下图为OLED屏与STM32的连接示意图。在这之中,GND端口接B6端口,VDD端口接B7端口,SCK端口接B8端口,而SDA端口接B9端口。

引脚初始化

#define OLED_W_SCL(x)       GPIO_WriteBit(GPIOB, GPIO_Pin_8, (BitAction)(x))  // 设置或清除指定的数据端口位
#define OLED_W_SDA(x)       GPIO_WriteBit(GPIOB, GPIO_Pin_9, (BitAction)(x))


void OLED_I2C_Init(void)
{
  RCC_APB2PeriphClockCmd(RCC_APB2Periph_GPIOB, ENABLE);   // 开启APB2外设时钟

    GPIO_InitTypeDef GPIO_InitStructure;
    GPIO_InitStructure.GPIO_Mode = GPIO_Mode_Out_OD;      // 开漏输出
    GPIO_InitStructure.GPIO_Speed = GPIO_Speed_50MHz;     // 最高输出速率
    GPIO_InitStructure.GPIO_Pin = GPIO_Pin_8;             // 选中管脚
    GPIO_Init(GPIOB, &GPIO_InitStructure);
    GPIO_InitStructure.GPIO_Pin = GPIO_Pin_9;             // 选中管脚
    GPIO_Init(GPIOB, &GPIO_InitStructure);

    OLED_W_SCL(1);     // 拉高SCL
    OLED_W_SDA(1);     // 拉高SDA
}
上述的GPIO端口采用了开漏输出模式。开漏模式在输出高电平时实际输出高阻态。当I2C该总线上的所有设备都输出高阻态时,由外部的上拉电阻上拉为高电平。此外,当STM32的GPIO配置成开漏输出模式时,它仍然可以通过读取GPIO的输入数据寄存器获取外部对引脚的输入电平。规定空闲状态下,SDA与SCL都必须拉高,即SDA与SCL都为高电平。

I2C开始

void OLED_I2C_Start(void)
{
    OLED_W_SDA(1);  // 拉高SDA
    OLED_W_SCL(1);  // 拉高SCL
    OLED_W_SDA(0);  // 拉低SDA
    OLED_W_SCL(0);  // 拉低SCL
}

I2C结束

void OLED_I2C_Stop(void)
{
    OLED_W_SDA(0);  // 拉低SDA
    OLED_W_SCL(1);  // 拉高SCL
    OLED_W_SDA(1);  // 拉高SDA
}

I2C传输一个字节数据

void OLED_I2C_SendByte(uint8_t Byte)
{
    uint8_t i;
    for (i = 0; i < 8; i++)
    {
        OLED_W_SDA(!!(Byte & (0x80 >> i)));  // 0x80: 1000 0000, 依次从高位开始提取出每一位
        OLED_W_SCL(1);   // SCL拉高,开始数据采样
        OLED_W_SCL(0);   // SCL拉低,数据采样结束,准备对下一位数据进行采样
    }
    OLED_W_SCL(1);  //额外的一个时钟,不处理应答信号
    OLED_W_SCL(0);
}

OLED写指令

void OLED_WriteCommand(uint8_t Command)
{
    OLED_I2C_Start();
    OLED_I2C_SendByte(0x78);        //从机地址 0111 1000
    OLED_I2C_SendByte(0x00);        //写命令 0000 0000
    OLED_I2C_SendByte(Command); 
    OLED_I2C_Stop();
}
  • 从机地址在启动信号后的第一个字节开始传输。从机收到自己的地址后才能发送应答信号表示自己在线。模块的I2C从机地址为:0111 10 [SA0] [RW]。SA0是硬件地址选择位。当SA0接高电平时,地址中的SA0就是1,当SA0接低电平时,地址中的SA0就是0。模块出厂时,一般SA0是接低电平。RW为读写位。0表示写,而1表示读。
  • 第二个字节传输控制字节。控制位的格式为:[Co] [D/C#] [000000]。通过控制字节中的D/C#位来确定接下来发送的一个字节是指令还是数据。发送指令该位为0,发送数据该位为1。当Co=0,并且D/C#=1时,接下来可以连续发送任意多个显存数据字节,直至产生停止信号。
  • 第三个字节传输单字节指令/数据

OLED写数据

void OLED_WriteData(uint8_t Data)
{
    OLED_I2C_Start();
    OLED_I2C_SendByte(0x78);        //从机地址 0111 1000
    OLED_I2C_SendByte(0x40);        //写数据 0100 0000
    OLED_I2C_SendByte(Data);
    OLED_I2C_Stop();
}
此时控制字节中的D/C#变为1。

  • D/C#为0,代表传输的是指令相关的数据,主要用于改变屏幕的工作参数。
  • D/C#为1,代表传输的是数据,主要用于显示数据。

设置OLED光标位置

// Y 以左上角为原点,向下方向的坐标
// X 以左上角为原点,向右方向的坐标
void OLED_SetCursor(uint8_t Y, uint8_t X)
{
    OLED_WriteCommand(0xB0 | Y);                    //设置Y位置:0~7, 传入页地址
    OLED_WriteCommand(0x10 | ((X & 0xF0) >> 4));    //设置X位置高4位:0~127,传入列地址
    OLED_WriteCommand(0x00 | (X & 0x0F));           //设置X位置低4位,传入列地址
}

OLED清屏

void OLED_Clear(void)
{  
    uint8_t i, j;
    for (j = 0; j < 8; j++)        // 遍历每一行
    {
        OLED_SetCursor(j, 0);
        for(i = 0; i < 128; i++)   // 遍历每一列
        {
            OLED_WriteData(0x00);
        }
    }
}

OLED初始化

void OLED_Init(void)
{
    uint32_t i, j;

    for (i = 0; i < 1000; i++)          //上电延时
    {
        for (j = 0; j < 1000; j++);
    }

    OLED_I2C_Init();            //端口初始化

    OLED_WriteCommand(0xAE);    //关闭显示

    OLED_WriteCommand(0xD5);    //设置显示时钟分频比/振荡器频率
    OLED_WriteCommand(0x80);

    OLED_WriteCommand(0xA8);    //设置多路复用率
    OLED_WriteCommand(0x3F);

    OLED_WriteCommand(0xD3);    //设置显示偏移
    OLED_WriteCommand(0x00);

    OLED_WriteCommand(0x40);    //设置显示开始行

    OLED_WriteCommand(0xA1);    //设置左右方向,0xA1正常 0xA0左右反置

    OLED_WriteCommand(0xC8);    //设置上下方向,0xC8正常 0xC0上下反置

    OLED_WriteCommand(0xDA);    //设置COM引脚硬件配置
    OLED_WriteCommand(0x12);

    OLED_WriteCommand(0x81);    //设置对比度控制
    OLED_WriteCommand(0xCF);

    OLED_WriteCommand(0xD9);    //设置预充电周期
    OLED_WriteCommand(0xF1);

    OLED_WriteCommand(0xDB);    //设置VCOMH取消选择级别
    OLED_WriteCommand(0x40);

    OLED_WriteCommand(0xA4);    //设置整个显示打开/关闭

    OLED_WriteCommand(0xA6);    //设置正常/倒转显示 A6为1亮0灭,而A7为0亮1灭

    OLED_WriteCommand(0x8D);    //设置充电泵
    OLED_WriteCommand(0x14);

    OLED_WriteCommand(0xAF);    //开启显示

    OLED_Clear();               //OLED清屏
}
OLED的初始化流程如下:

  • 上电延时,确保OLED电源稳定。
  • 关闭显示。发送命令0xAE,使OLED进入休眠,防止初始化过程中出现杂乱像素。
  • 设置时钟分频和振荡频率。首先发送命令0xD5,然后再发送命令0x80

若按照默认值计算,则K=2+2+50=54。按照帧频的计算公式可以求得FFRM = 370k / (1x54x64) = 107.06Hz,也就是每秒扫描107次。

  • 设置多路复用比。首先发送命令0xA8,然后再发送命令0x3F。 对于128x64 OLED,高度为64像素,对应MUX比为0x3F(也就是63,表示驱动0-63行)。
  • 设置显示偏移。首先发送命令0xD3,然后再发送0x00,表示起始行偏移设为0。
  • 设置显示开始行。发送命令0x40
  • 列地址重映射。0xA1正常,0xA0左右反置。
  • 行地址重映射。0xC8正常,0xC0上下反置。
  • 设置COM引脚配置。首先发送命令0xDA,然后再发送0x12
  • 设置对比度。首先发送命令0x81,然后再发送0x7F(范围为0x00~0xFF)。可根据需要调亮或调暗。
  • 设置预充电周期。首先发送命令0xD9,然后再发送0xF1(在使用内部电荷泵时,0xF1是推荐值)。
  • 设置VCOMH除数。首先发送命令0xDB,然后再发送0x40
  • 整个显示开启。发送命令0xA4
  • 设置正常/反向显示。若发送命令0xA6,则为正常模式(为1,则OLED亮,为0,则OLED灭)。若发送命令0xA7,则为反相显示。
  • 启用电荷泵。首先发送命令0x8D,再发送命令0x14
  • 点亮OLED,开始显示。发送命令0xAF

相关例子

单个汉字的显示

为理解OLED显示汉字的原理,首先使用matplotlib来模拟OLED发光。涉及到的Python函数代码如下(每个汉字字模的大小为16x16):

import numpy as np
import  matplotlib.pyplot as plt
import scienceplots
from matplotlib.ticker import MultipleLocator

plt.style.use(['no-latex','my'])

def Convert_array_China(data: list):
    array_ls_1 = []       # 存储汉字的上半部分数据,即前16字节
    array_ls_2 = []       # 存储汉字的下半部分数据,即后16字节
    for d in range(0,16):
        ls_1 = []
        ls_2 = []
        for i in range(8):
            ls_1.append((int(data[d], 16)>>i)&(0x1))
            ls_2.append((int(data[d+16], 16)>>i)&(0x1))    # 依次提取出每一位
        array_ls_1.append(ls_1)
        array_ls_2.append(ls_2)
    return np.concatenate((np.array(array_ls_1).T, np.array(array_ls_2).T))   # 矩阵转置并堆叠

def Draw_China(data: np.ndarray):
    fig, ax = plt.subplots(figsize=(4, 4))
    ax.imshow(data, origin='upper')
    ax.tick_params(top=True, labeltop=True, bottom=False, labelbottom=False)
    ax.xaxis.set_major_locator(MultipleLocator(1))
    ax.yaxis.set_major_locator(MultipleLocator(1))
    for i in range(1,32,2):
        plt.axhline(y=0.5*i)
    for i in range(1,32,2):
        plt.axvline(x=0.5*i)
    plt.show()
若需要显示汉字"你",则通过取字模软件获得该汉字对应的编码后,即可以利用如下的Python代码模拟OLED发光。
ls = "0x00,0x80,0x60,0xF8,0x07,0x40,0x20,0x18,0x0F,0x08,0xC8,0x08,0x08,0x28,0x18,0x00,0x01,0x00,0x00,0xFF,0x00,0x10,0x0C,0x03,0x40,0x80,0x7F,0x00,0x01,0x06,0x18,0x00".split(",")
Draw_China(Convert_array_China([d.replace("0x", "") for d in ls]))
可以得到如下的图像。

在上面的基础上,可通过下面的C语言函数实现OLED展示单个汉字。

/**
  * @brief  OLED显示一个中文字符
  * @param  Line 行位置,范围:1~4
  * @param  Column 列位置,范围:1~8
  * @param  Index 该中文字符在字模库中的索引值
  * @retval 无
  */
void OLED_ShowCharChina(uint8_t Line, uint8_t Column, uint8_t Index)
{       
    uint8_t i;
    OLED_SetCursor((Line - 1) * 2, (Column - 1) * 16);      //设置光标位置在上半部分
    for (i = 0; i < 16; i++)
    {
        OLED_WriteData(OLED_F16x16[Index][i]);          //显示上半部分内容
    }
    OLED_SetCursor((Line - 1) * 2 + 1, (Column - 1) * 16);  //设置光标位置在下半部分
    for (i = 0; i < 16; i++)
    {
        OLED_WriteData(OLED_F16x16[Index][i + 16]);     //显示下半部分内容
    }
}
主程序代码如下所示。
#include "stm32f10x.h"                
#include "Delay.h"
#include "OLED.h"
#include <stdio.h>

int main(void)
{
    OLED_Init();        
    OLED_ShowCharChina(2, 2, 0);
    while(1)
    {
    }
}

句子的显示

可通过下面的C语言函数实现OLED展示句子。

/**
  * @brief  OLED显示字符串
  * @param  Line 起始行位置,范围:1~4
  * @param  Column 起始列位置,范围:1~8
  * @param  Index 要显示的中文字符在字模库中的数组
  * @param  Len 数组的长度,范围:1~8
  * @retval 无
  */
void OLED_ShowStringChina(uint8_t Line, uint8_t Column, uint8_t Index[], uint8_t Len)
{
    uint8_t i;
    for (i = 0; i < Len; i++)
    {
        OLED_ShowCharChina(Line, Column + i, *(Index+i));
    }
}

评论